方形电池外壳的激光侧焊密封技术
作者:admin 来源: 日期:2015/11/22 16:28:09
方形电池外壳的激光侧焊密封技术
1.方形电池中心旋转式激光自动焊接机
脉冲YAG激光焊接机的激光平均功率多为300~700W,脉冲重复频率1~100Hz,激光脉冲宽度1~10ms,单脉冲最大能量约30J,石英光纤传输,光纤长度10~50m。在光纤出口,由聚焦系统组成激光焊接头,焊接头和被焊接电池之间的相对运动由微处理机控制,激光焊接过程自动进行,更换电池的动作是人工操作。

电池中心旋转式激光侧焊密封技术
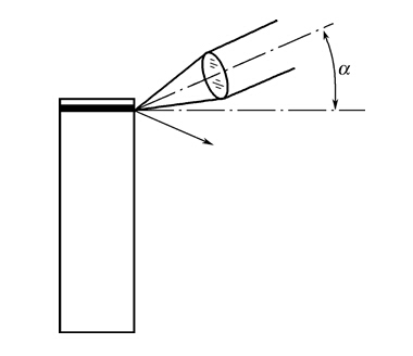
激光焊接过程中焊缝熔化阶段会产生电浆火焰,该火焰对于入射激光光束有遮挡作用,对激光光束产生吸收和散射,使焊接品质下降。图3.25表示的方法,使激光光束倾斜一个角度入射,这样产生的电浆火焰就会反射到另一个方向,不再遮挡入射激光光束。

激光倾斜入射示意
上一篇:方形电池外壳的激光顶焊密封技术


